Bơm công nghiệp
Cấu trúc và ứng dụng của bơm ly tâm dẫn động từ.
Trang chủ Giới thiệu máy bơm

Cấu trúc và ứng dụng của bơm ly tâm dẫn động từ.

Sản phẩm mới

Cấu trúc và ứng dụng của bơm ly tâm dẫn động từ.

February 26, 2026

Cấu trúc và ứng dụng của bơm ly tâm dẫn động từ

 

1. Cấu trúc của bơm ly tâm dẫn động từ tính bằng kim loại

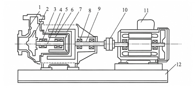
Máy bơm ly tâm dẫn động từ bao gồm bốn thành phần chính: vỏ máy, rôto, các bộ phận kết nối và hệ thống truyền động. Nó có hai cấu hình: nối trực tiếp và không nối trực tiếp. Thiết kế nối trực tiếp có khớp nối từ (nam châm ngoài) được kết nối trực tiếp với trục động cơ, loại bỏ nhu cầu sử dụng trục ngoài, ổ bi hoặc các bộ phận kết nối, như minh họa trong Hình 1-12.

 
#
 

 

1—Thân bơm; 2—Cánh quạt; 3—Trục bơm; 4—Ống lót trục; 5—Ổ trượt; 6—Nắp bơm; 7—Rô-tơ từ trong; 8—Ống lót cách ly; 9—Rô-tơ từ ngoài; 10—Động cơ điện

 

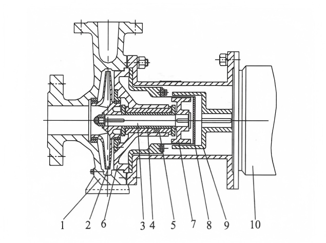
Máy bơm ly tâm dẫn động từ không nối trực tiếp, còn được gọi là máy bơm ly tâm dẫn động từ tiêu chuẩn, có trục ngoài với khớp nối từ (nam châm ngoài) được nối với động cơ thông qua vỏ ổ trục và khớp nối. Cấu trúc sơ đồ của máy bơm này được minh họa trong Hình 1-21.

 

#

 

Hình 1-21 Sơ đồ nguyên lý của bơm ly tâm dẫn động từ không nối trực tiếp (loại tiêu chuẩn)

1—Thân bơm (vỏ bơm); 2—Cánh quạt; 3—Ổ trượt; 4—Trục bơm trong; 5—Ống lót cách ly; 6—Thép từ trong; 7—Thép từ ngoài; 8—Ổ lăn; 9—Trục bơm ngoài; 10—Khớp nối; 11—Động cơ điện; 12—Đế

    •  
 

(1) Phần vỏ

Phần vỏ bơm bao gồm thân bơm (vỏ bơm), nắp bơm, ống cách ly, v.v. Nó chịu toàn bộ áp suất làm việc của bơm.

(2) Phần rôto

Cụm rôto bao gồm hai thành phần chính: các bộ phận quay được lắp trên trục bơm và các bộ phận được lắp trên trục dẫn động. Các bộ phận quay của trục bơm bao gồm cánh quạt, ổ bi, cụm vòng chặn, rôto từ bên trong và bản thân trục, tạo thành phần rôto tiếp xúc với môi chất. Các bộ phận quay của trục dẫn động bao gồm rôto từ bên ngoài, ổ bi, ống lót trục dẫn động và bản thân trục, tạo thành phần rôto tiếp xúc với không khí.

(3) Phần kết nối

Nó bao gồm khung nối, hộp ổ trục và các bộ phận khác, đóng vai trò kết nối và hỗ trợ.

(4) Phần truyền tải

Phần kết nối đề cập đến khớp nối giữa bơm và bộ truyền động. Bơm ly tâm dẫn động từ sử dụng hai phương pháp kết nối: (1) kết nối khớp nối từ bên trong của bơm với khớp nối từ của bộ truyền động (khớp nối từ bên ngoài); (2) sử dụng một bộ phận khớp nối mở rộng kiểu màng để kết nối khớp nối từ trục ngoài của bơm với bộ truyền động. Thiết kế này cho phép bảo trì bơm bằng cách chỉ cần tháo các bu lông và màng của phần trung gian của khớp nối, loại bỏ nhu cầu tháo rời bộ truyền động để bảo dưỡng, do đó đảm bảo bảo trì thuận tiện.

 

2. Các thành phần chính và chức năng của bơm ly tâm dẫn động từ tính bằng kim loại

 

(1) Các thành phần chính của bơm ly tâm dẫn động từ tính bằng kim loại

Các bộ phận chính của bơm ly tâm dẫn động từ tính bằng kim loại bao gồm: cánh quạt, trục, buồng hút, thân bơm (vỏ bơm), ống lót cách ly, vỏ ổ trục và vòng cổng. Một số mẫu cũng có thể tích hợp thêm cánh dẫn hướng, bánh xe cảm ứng và đĩa cân bằng. Các đường dẫn dòng chảy bao gồm buồng hút, thân bơm (vỏ bơm) và cánh quạt, mỗi bộ phận đảm nhiệm các chức năng sau.

① Buồng nạp Buồng nạp nằm ở đầu trước của cửa nạp cánh quạt, nơi chất lỏng được hút vào cánh quạt thông qua cửa hút. Yêu cầu đặt ra là tổn thất lưu lượng của chất lỏng đi qua buồng nạp phải ở mức tối thiểu, và vận tốc của chất lỏng đi vào cánh quạt phải được phân bố đồng đều.

② Cánh quạt: Cánh quạt quay chuyển hóa năng lượng bằng cách hút chất lỏng vào, truyền năng lượng áp suất và năng lượng động học cho chất lỏng. Cánh quạt cần phải tối đa hóa sự truyền năng lượng cho chất lỏng đồng thời giảm thiểu tổn thất lưu lượng.

(2) Chức năng của các thành phần chính trong bơm ly tâm dẫn động từ tính kim loại

① Thân bơm (vỏ bơm)

Thân bơm, còn được gọi là vỏ bơm, có hai loại: chia theo trục và chia theo bán kính, đóng vai trò là bộ phận chịu được áp suất chất lỏng. Hầu hết các bơm một tầng đều có vỏ hình xoắn ốc, trong khi bơm nhiều tầng thường sử dụng vỏ hình vành khuyên hoặc hình tròn. Chức năng chính của nó là chứa chất lỏng trong một không gian xác định, dẫn chất lỏng được đẩy ra từ các đường dẫn dòng chảy của cánh quạt vào các ống xả và chuyển đổi một phần động năng của chất lỏng thành năng lượng áp suất, do đó làm tăng áp suất của nó.

 

Thân bơm thường có ba loại sau:

a. Thân (vỏ) bơm xoắn ốc có hình dạng giống vỏ ốc sên (Hình 1-22). Bên trong thân bơm xoắn ốc có các kênh dẫn dòng với tiết diện mở rộng dần. Hình dạng và kích thước của các kênh này ảnh hưởng đáng kể đến hiệu suất của bơm.

  

 

#

Hình 1-22 Thân bơm xoắn ốc

(Mũi tên chỉ vào đoạn xoắn ốc có tiết diện không đều)

 

b. Thân bơm (vỏ bơm) với cụm cánh dẫn hướng. Thân bơm (vỏ bơm) là một cấu trúc quay, bao bọc phần ngoài của cánh quạt.

Kênh dẫn dòng được bao quanh bởi một số cấu trúc cánh dẫn hướng.

c. Thân bơm (vỏ) hai lớp: Thân bơm (vỏ) có thêm lớp vỏ ngoài hình trụ được gọi là thân bơm (vỏ) hai lớp.

② cánh quạt

Cánh quạt, một bộ phận quan trọng của máy bơm, thực hiện việc vận chuyển chất lỏng thông qua chuyển động quay tốc độ cao. Thông thường bao gồm ba phần—trục, cánh và tấm che—cánh quạt có hai loại tấm che: tấm che phía trước ở phía đầu vào và tấm che phía sau ở phía đối diện.

Máy bơm ly tâm dẫn động từ vận chuyển chất lỏng chủ yếu nhờ hoạt động của cánh quạt được lắp đặt bên trong thân bơm. Kích thước, hình dạng và độ chính xác chế tạo của cánh quạt ảnh hưởng đáng kể đến hiệu suất của bơm. Dựa trên cấu hình cấu trúc, cánh quạt có thể được phân loại thành ba loại: kín, hở và bán hở (Hình 1-23).

a. cánh quạt kín

Một cánh quạt dạng đĩa thường bao gồm một tấm che, các cánh và một trục. Tấm che phía trước nằm ở phía hút, trong khi tấm che phía sau nằm ở phía đối diện, với các cánh được đặt giữa chúng. Có từ 4 đến 6 cánh giữa hai tấm che, và các cánh này thường cong về phía sau, như thể hiện trong Hình 1-23(a). Cánh quạt kín có hiệu suất cao và được sử dụng rộng rãi, đặc biệt là để vận chuyển chất lỏng sạch không có các hạt rắn hoặc sợi. Chúng có hai loại: hút đơn và hút kép. Cánh quạt hút kép, như minh họa trong Hình 1-24, phù hợp với các máy bơm lưu lượng cao và có khả năng chống xâm thực tốt hơn.

b. cánh quạt hở

Cánh quạt không có tấm che ở cả hai bên, các cánh được nối với trục bằng các thanh gia cường, như thể hiện trong Hình 1-23(b). Thiết kế cánh quạt này đơn giản và dễ chế tạo, nhưng hiệu suất thấp, do đó chỉ phù hợp để vận chuyển chất lỏng có hàm lượng chất rắn lơ lửng hoặc chất xơ cao.

c. cánh quạt kiểu bán kín

Cánh quạt này chỉ có một tấm che phía sau, như thể hiện trong Hình 1-23(c). Nó được thiết kế để vận chuyển chất lỏng dễ bị lắng cặn hoặc chứa các chất rắn lơ lửng, với hiệu suất nằm giữa cánh quạt hở và cánh quạt kín.

 

 

Có hai loại cánh quạt cho bơm ly tâm: cánh thẳng và cánh xoắn.

Các cánh thẳng là những cánh có toàn bộ chiều rộng song song với trục cánh quạt, như minh họa trong Hình 1-23.

Các cánh xoắn có một phần lệch khỏi trục cánh quạt, như minh họa trong Hình 1-25. Đối với cánh quạt có tốc độ riêng thấp, các cánh có hình tròn với các kênh dẫn dòng hẹp, giúp dễ dàng chế tạo. Ngược lại, cánh quạt có tốc độ riêng cao sử dụng các kênh dẫn dòng rộng hơn, cho phép xoắn dễ dàng hơn. Những cánh như vậy giúp tăng khả năng chống xâm thực của bơm, giảm tổn thất do va đập và cuối cùng cải thiện hiệu suất tổng thể.

Khi hướng uốn cong của cánh quạt ngược với hướng quay của bánh công tác, nó được gọi là cánh cong ngược; ngược lại, nó được gọi là cánh cong thuận. Do hiệu suất cao hơn, cánh cong ngược thường được sử dụng cho bánh công tác.

③ choma

Vòng đệm kín, còn được gọi là gioăng, thường được lắp trên thân bơm và tạo ra một khe hở tối thiểu với chu vi ngoài của cửa hút cánh quạt (Hình 1-26). Vì áp suất chất lỏng bên trong thân bơm vượt quá áp suất cửa hút, chất lỏng có xu hướng chảy về phía cửa hút cánh quạt. Chức năng chính của vòng đệm kín là ngăn chặn sự rò rỉ chất lỏng giữa cánh quạt và thân bơm. Ngoài ra, nó còn đóng vai trò là một bộ phận chịu ma sát. Khi xảy ra mài mòn quá mức trong khe hở, việc thay thế vòng đệm kín sẽ ngăn chặn việc loại bỏ cánh quạt và thân bơm, do đó kéo dài tuổi thọ của chúng. Do đó, vòng đệm kín được xếp vào loại bộ phận dễ bị mài mòn của bơm. Kích thước khe hở giữa vòng đệm kín và chu vi ngoài của cửa hút cánh quạt thường được xác định bởi đường kính của gioăng cánh quạt.

 

#

Hình 1-25 Cánh quạt có lưỡi xoắn Hình 1-26 Sơ đồ cấu tạo củaVòng đệm (Vòng bịt kín)

                                                                       

④ Ống bọc cách ly

Trong một thiết bị dẫn động từ tính bơm ly tâmỐng lót cách ly chủ yếu hoạt động như một vòng đệm kín trục, là bộ phận duy nhất đảm bảo hoạt động không rò rỉ. Không giống như các bơm ly tâm thông thường, trục quay không nhô ra ngoài khỏi vỏ bơm cố định. Thay vào đó, ống lót cách ly thay thế vòng đệm kín trục truyền thống, ngăn chặn hiệu quả cả sự rò rỉ chất lỏng áp suất cao và sự xâm nhập của không khí vào buồng bơm (như minh họa trong Hình 1-27). Lý do thiết kế này giải thích việc tích hợp cơ chế làm kín trong các loại bơm này. Trục và vỏ bơm được tách biệt về mặt vật lý bởi ống lót cách ly, thay thế cho cụm vòng đệm kín trục thông thường.

⑤ Ghép nối từ tính

Một khớp nối từ bao gồm một nam châm bên trong (có giá đỡ nam châm và ống bọc nam châm) và một nam châm bên ngoài (cũng có giá đỡ nam châm). Ống bọc cách ly, được đặt giữa nam châm bên trong và bên ngoài (Hình 1-28), là một đặc điểm phân biệt quan trọng của bơm từ và đóng vai trò là thành phần cốt lõi của chúng. Cấu trúc của khớp nối từ, thiết kế mạch từ và việc lựa chọn vật liệu của các thành phần ảnh hưởng trực tiếp đến độ tin cậy, hiệu suất truyền động từ và tuổi thọ của bơm.

 

 

#

 

Hình 1-28 Sơ đồ cấu trúc ghép nối từ tính

1—Đế từ ngoài; 2—Khối thép từ ngoài; 3—Ống cách điện; 4—Vỏ thép từ trong; 5—Khối thép từ trong; 6—Đế từ trong

L — Chiều dài khối thép từ tính; a — Độ dày lớp phủ; b — Độ dày ống cách điện; c — Khe hở không khí

 

a. Thép từ tính bên trong

Lõi thép từ tính bên trong được gắn kết với đế bằng chất kết dính. Để cách ly lõi thép từ tính bên trong khỏi môi trường, cần phải có một lớp vỏ bảo vệ được gắn bên ngoài. Vỏ bảo vệ có hai loại: kim loại và nhựa. Vỏ kim loại được hàn, trong khi vỏ nhựa được đúc phun (khi sử dụng vật liệu kim loại, phải sử dụng thép không gỉ austenit không nhiễm từ).

b. Nam châm ngoài

Nam châm ngoài và đế nam châm ngoài được nối với nhau bằng chất kết dính.

c.Ống bọc cách ly

Ống cách ly, còn được gọi là ống bịt kín, được đặt giữa nam châm bên trong và bên ngoài để cách ly chúng hoàn toàn, với môi chất được bao bọc bên trong ống (Hình 1-29).

 

#

 

Hình 1-29 Sơ đồ cấu trúc truyền động từ hình trụ

1—Rô-tơ ngoài; 2—Thép từ ngoài; 3—Thép từ trong; 4—Rô-tơ trong; 5—Ống bọc cách điện

 

Độ dày của ống cách điện có liên quan đến áp suất làm việc và nhiệt độ hoạt động. Nếu quá dày, khoảng cách giữa nam châm trong và nam châm ngoài sẽ tăng lên, ảnh hưởng đến hiệu suất của hệ thống truyền động từ. Nếu quá mỏng, cường độ từ trường sẽ bị ảnh hưởng. Có hai loại ống cách điện: kim loại và phi kim loại. Ống cách điện bằng kim loại có tổn hao dòng điện xoáy, trong khi ống cách điện bằng phi kim loại không có tổn hao dòng điện xoáy.

⑥ ổ trượt

Trục bơm của bơm ly tâm dẫn động bằng từ trường được đỡ bởi một ổ trượt. Vì ổ trượt hoạt động nhờ chất lỏng được vận chuyển để bôi trơn, nên nó cần được chế tạo từ các vật liệu có khả năng chống mài mòn và tự bôi trơn tuyệt vời. Các vật liệu ổ trượt thường được sử dụng bao gồm cacbua silic, gốm sứ, vật liệu gốc than chì và vật liệu composite chứa polytetrafluoroethylene (PTFE).

Việc bôi trơn các ổ trượt dựa vào dòng chảy chất lỏng nội tại của chúng, điều này đòi hỏi các ổ trượt, bạc lót và đĩa chặn phải có khả năng tự bôi trơn, chống mài mòn và chống ăn mòn tuyệt vời. Ví dụ, cả SSiC và YWN8 đều thể hiện khả năng chống mài mòn, chống ăn mòn và tự bôi trơn vượt trội, trong đó SSiC có độ cứng tương đối cao hơn YWN8. Khi được ghép nối với ổ chặn, sự kết hợp giữa vật liệu mềm và cứng tạo thành một cặp ma sát tối ưu, giúp kéo dài đáng kể tuổi thọ của ổ trượt. Các thử nghiệm thực tế đã chỉ ra rằng tuổi thọ của các ổ trượt ghép nối được làm từ các vật liệu này (SSiC và YWN8) có thể dài hơn đến 10 lần so với ổ trượt bằng than chì hoặc ổ trượt bằng SiC được ghép nối với cùng vật liệu. Là các bộ phận quan trọng trong bơm từ, việc kéo dài tuổi thọ của các ổ trượt trực tiếp nâng cao tuổi thọ tổng thể của bơm từ. Do đó, việc lựa chọn vật liệu là rất quan trọng để đảm bảo hoạt động ổn định và lâu dài của bơm từ.

⑦ bộ cân bằng

Trong bơm dẫn động bằng từ trường, lực tác dụng lên hai phía của cánh quạt không đều nhau, như thể hiện trong Hình 1-30. Khi bơm được khởi động tức thời bởi cơ cấu truyền động, một lực hướng trục tác dụng lên cánh quạt về phía hút. Nếu lực hướng trục này không được loại bỏ, chuyển động hướng trục của các bộ phận quay sẽ xảy ra, dẫn đến mài mòn, rung động và quá nhiệt, khiến bơm không hoạt động bình thường. Do đó, cần phải sử dụng thiết bị cân bằng để ngăn chặn chuyển động hướng trục. Các loại thiết bị cân bằng hướng trục phổ biến nhất bao gồm lỗ cân bằng, ống cân bằng và đĩa cân bằng.

 

a. lỗ cân bằng

Một vòng đệm kín tương tự được thêm vào nắp sau của cánh quạt, và một số lỗ được mở trên nắp sau (lỗ cân bằng) để làm cho áp suất tại nắp sau bằng với áp suất đầu vào hút, nhằm cân bằng lực hướng trục.

b. ống cân bằng

Một đường ống được nối với thân bơm và dẫn đến cửa hút, đảm bảo cân bằng áp suất ở cả hai phía của cánh quạt. Hai thiết bị này có cấu trúc đơn giản nhưng có thể gây ra hiện tượng chảy ngược chất lỏng, làm giảm hiệu suất. Ngoài ra, 10%-25% lực hướng trục vẫn không cân bằng, thường cần một đĩa chặn để hấp thụ lực hướng trục còn lại.

c. đĩa cân bằng

Hình 1-31 minh họa sơ đồ lắp ráp đĩa cân bằng, chủ yếu được sử dụng trong máy bơm nhiều tầng Trong đó, đĩa cân bằng được gắn cố định vào cánh quạt giai đoạn cuối trên cùng một trục. Có một khe hở hướng trục giữa đĩa cân bằng và thân bơm. Trong quá trình hoạt động, chất lỏng áp suất cao chảy qua khe hở này vào buồng cân bằng ở phía bên phải của đĩa cân bằng. Buồng cân bằng được nối với cửa hút, duy trì áp suất bằng nhau. Điều này tạo ra sự chênh lệch áp suất trên đĩa cân bằng, với lực đẩy và lực hướng trục đối nghịch nhau. Các bộ phận quay của bơm có thể di chuyển theo chiều ngang, và đĩa cân bằng tự động duy trì trạng thái cân bằng trong quá trình hoạt động. Ngoài ra, các phương pháp như sử dụng cánh quạt hút kép hoặc cánh quạt được bố trí đối xứng cũng có thể giúp cân bằng các lực hướng trục một phần.

 

 

#

 

Hình 1-31 Sơ đồ cấu tạo của thiết bị đĩa cân bằng

1—Cánh quạt giai đoạn cuối; 2—Buồng cân bằng; 3—Khe hở trục; 4—Đĩa cân bằng; 5—Trục bơm

 

 

để lại tin nhắn

để lại tin nhắn
Nếu bạn quan tâm đến sản phẩm của chúng tôi và muốn biết thêm thông tin chi tiết, vui lòng để lại tin nhắn ở đây, chúng tôi sẽ trả lời bạn sớm nhất có thể.
nộp

Trang chủ

Các sản phẩm

WhatsApp

liên hệ